Tesla has filed a new patent that could change how cars stay connected forever. According to the latest filing, Tesla is working on a vehicle roof design capable of integrating satellite communication antennas directly inside the car, opening the door to Starlink-style internet connectivity on the move.

The patent, filed in the United States, describes a radio-frequency (RF) transparent vehicle roof assembly. This design allows satellite signals to pass through the roof without obstruction, something traditional metal or glass roofs struggle with.
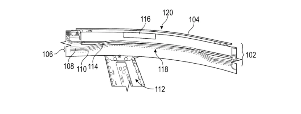
What the Tesla Patent Reveals
The patent explains a roof structure made using special RF-transparent materials such as advanced polymers. These materials allow satellite signals to pass through while protecting internal hardware.
Key highlights from the patent:
- Satellite antennas can be embedded inside the roof structure
- No external antenna mounts required
- Reduced signal interference compared to metal roofs
- Improved durability and cleaner vehicle design
Although Tesla does not explicitly mention Starlink in the document, the connection is obvious given Elon Musk’s involvement with both Tesla and SpaceX.

Why Satellite Internet Inside Cars Matters
If implemented, satellite connectivity could offer massive advantages:
- Internet access in remote areas where mobile networks fail
- More reliable over-the-air (OTA) software updates
- Enhanced navigation, streaming, and cloud-based features
- Strong backbone for future robotaxi and autonomous driving systems
This could be a game-changer for drivers who frequently travel through highways, deserts, mountains, or rural regions.

Is This Starlink for Tesla Cars?
While Tesla has not officially confirmed Starlink integration, the technology described in the patent aligns closely with Starlink’s satellite communication requirements.
Industry experts believe Tesla could be preparing its vehicles for:
- Direct satellite-to-car connectivity
- Hybrid network support (5G + satellite)
- Future subscription-based connectivity services
Important Things to Note
- This is only a patent filing, not a confirmed product
- Tesla has not announced a launch timeline
- Many patents never reach production stage
Still, Tesla’s history suggests that patents often hint at long-term strategic planning rather than short-term experiments.
What This Means for the US Market
In the United States, where long-distance driving and rural highways are common, satellite-connected vehicles could solve major connectivity gaps.
This technology could also strengthen Tesla’s edge against competitors as connected-car features become a key selling point.
